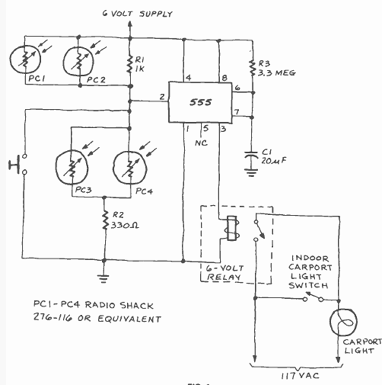
Recomendado para aplicaciones automotrices, este circuito se encontró en la revista Radio Electronics de noviembre de 1980. Los sensores son LDR comunes y la aplicación recomendada es la iluminación de luces de garaje.
Esta fuente fue originalmente diseñada para alimentar nuestro circuito anterior (CIR6483S) que consiste...
Este circuito receptor de un solo transistor se encontró en la revista Radio Electronics de julio...
Este circuito se encontró en una publicación americana de los años 50. Los transistores son de...