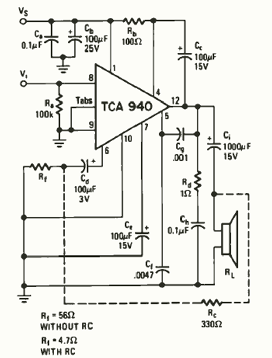
Este amplificador de unos pocos watts fue encontrado en la revista Radio Electronics de agosto de 1975. El circuito se utilizó en muchos equipos comerciales de la época. Cc determina la ganancia.

Este amplificador de unos pocos watts fue encontrado en la revista Radio Electronics de agosto de 1975. El circuito se utilizó en muchos equipos comerciales de la época. Cc determina la ganancia.
