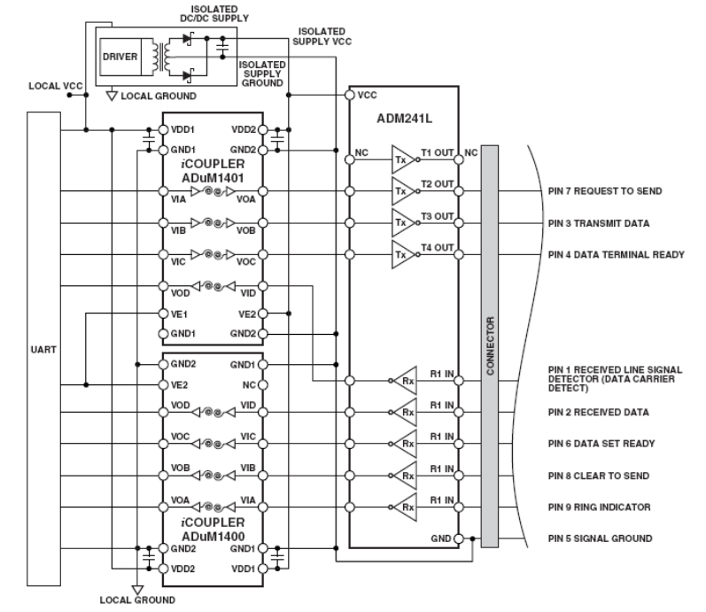
En aplicaciones críticas de la interfaz RS-232 se debe considerar el peligro de tensiones inducidas en los cables. Una forma de evitar el problema es mediante el uso de aisladores ópticos. Analog Devices (www.analog.com) en su nota de aplicación AN-740 proporciona circuitos prácticos para este propósito con excelentes explicaciones sobre cómo funciona este tipo de interfaz. Teniendo en cuenta que los acopladores ópticos digitales comunes no admiten señales RS-232, el diseñador debe tener cuidado al elegir el dispositivo correcto para el proyecto. En el circuito que se muestra en la figura 2. En el circuito que se muestra, los transceptores RS-232 utilizan lógica digital con señales entre 0 y 5V o 0 a 3 V, estando conectados a un UART o procesador. El proyecto presentado utiliza un acoplador óptico analógico especialmente diseñado para este fin. Tenga en cuenta que también se incluye el diagrama de fuentes.




