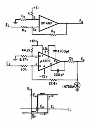
Sugerido por una documentación estadounidense de los años 60, este circuito proporciona un amplificador de histéresis operacional, de acuerdo con la curva dada en el diagrama.

Operacional con histéresis
Sugerido por una documentación estadounidense de los años 60, este circuito proporciona un amplificador de histéresis operacional, de acuerdo con la curva dada en el diagrama.
