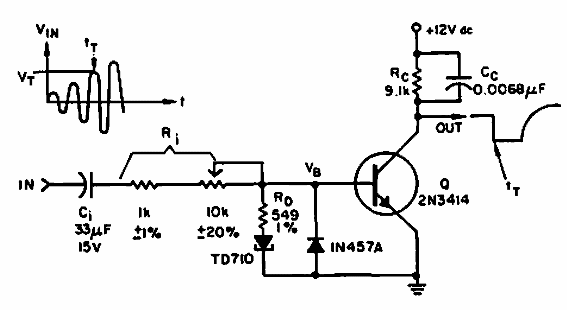
Este circuito para una frecuencia de 10 kHz se encontró en una Electronic Design. Utiliza un diodo de túnel. El transistor admite equivalente.

Detector de pico sinusoidal
Este circuito para una frecuencia de 10 kHz se encontró en una Electronic Design. Utiliza un diodo de túnel. El transistor admite equivalente.
