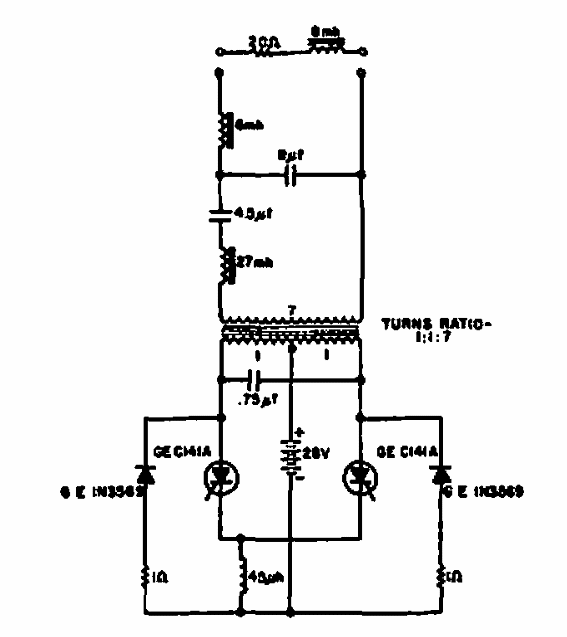
Encontrado en una publicación de 1967 de General Electric, este circuito SCR genera tensiones de 120 VCA en la salida. El circuito tiene una tensión de entrada de 28 V.

Inversor 400 Hz x 360 W
Encontrado en una publicación de 1967 de General Electric, este circuito SCR genera tensiones de 120 VCA en la salida. El circuito tiene una tensión de entrada de 28 V.
