Los comparadores de tensión encuentran una amplia gama de aplicaciones en control, alarmas, sensores y muchos otros circuitos. Tipos comunes como LM339, LM239 y LM139 se utilizan en una gran variedad de equipos así como amplificadores operativos que se pueden implementar fácilmente como comparadores como el LM324 o LM358. En este artículo se utiliza con comparadores de tensión además de circuitos prácticos de aplicación.
Un comparador de tensión no es más que un amplificador operacional de alta ganancia conectado para comparar una tensión de entrada con una tensión de referencia. La salida estará en el nivel alto o bajo, según la tensión de entrada sea mayor o menor que la tensión de referencia.
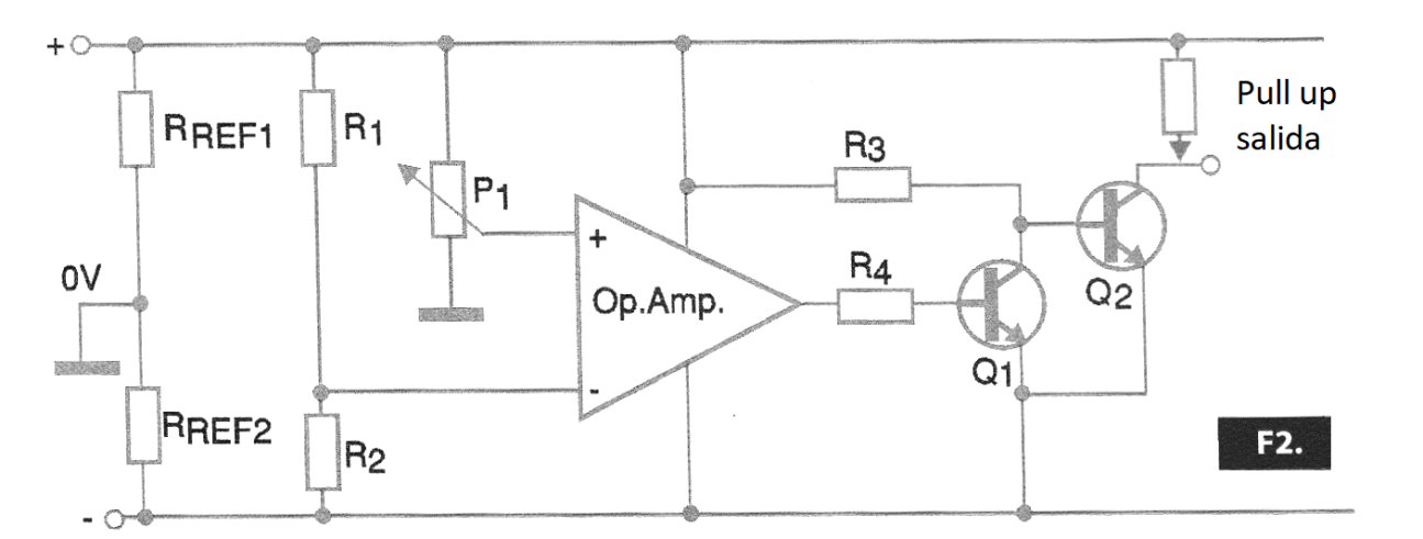
En la figura 1 tenemos la configuración básica de un comparador típico en el que además de un amplificador operacional tenemos una salida de potencia con un transistor en colector abierto.
Se observa que la presencia de este transistor requiere que en todas las aplicaciones el componente no quede con la salida flotante. Si no hay nada conectado a ella, se debe prever una resistencia pull up. En esta figura tenemos la operación del comparador con fuente simple, pero existe también la posibilidad de alimentar un comparador con una fuente de alimentación simétrica como muestra la figura 2.
Con alimentación simétrica la tensión de entrada para comparación puede ser negativa y positiva.
Operación
Como muestra la figura 3, podemos utilizar la entrada positiva para fijar la tensión de referencia a través de un divisor formado por R1 y R2.
A partir del punto en que la tensión de entrada es mínima (0 V) la tensión de salida será máxima (+ V). Cuando la tensión de entrada se iguala a la tensión de referencia, ocurre la conmutación y la tensión de salida pasa a cero. Esta tensión permanecerá hasta que la tensión de entrada alcance el valor máximo.
Cuando la tensión de entrada cae al pasar por el valor de referencia, se produce una nueva conmutación y la salida va al nivel máximo (+ V) de nuevo. La figura 4 muestra en un gráfico lo que ocurre.
Otra forma de utilizar el amplificador operacional es la mostrada en la figura 5, donde aplicamos la tensión de referencia en la entrada inversora (-).
A partir de una tensión nula de entrada, aplicada a la entrada no inversora, tenemos una tensión nula en la salida. Cuando esta tensión alcanza el valor de referencia, fijado por el divisor R1 / R2, la tensión de salida conmuta y va al máximo (+ V). Esta tensión permanece alta hasta que, después de alcanzar el máximo, la tensión de entrada cae, y nuevamente alcanza el valor de referencia. En ese punto, el comparador conmuta y su salida va a cero, como muestra la figura 6.
En el caso de que se produzca un cambio en el valor de la variable, se debe tener en cuenta que, En realidad, como muestra la figura 7, existe un cierto efecto del offset de la tensión de entrada.
Sin embargo, esta inclinación en la curva de conmutación no afecta a la mayoría de las aplicaciones. Los comparadores de tensión también poseen una cierta histéresis, lo que significa que la tensión en que ocurre la conmutación en la ida es diferente del punto en que ocurre la conmutación en la vuelta, es decir, cuando la tensión de entrada varía en un sentido y en otro. La figura 8 muestra el significado de esta histéresis.
Sin embargo, para la mayoría de los comparadores la histéresis es muy pequeña, del orden de milivolts. En las aplicaciones en que se desea una histéresis mayor, se puede obtener esto a través de componentes externos.
En la figura 8 mostramos cómo es posible hacerlo con dos resistores adicionales.
Comparadores de Ventanas
Una configuración muy útil que se obtiene con el uso de dos comparadores de tensión es la del comparador de ventana, que se muestra en la figura 9.

Este comparador proporciona una salida cuando la tensión de entrada se sitúa entre dos valores de referencia, programados por una red divisora. En la figura 10 tenemos un gráfico que muestra el comportamiento de ese circuito, en el que la tensión de salida de los dos comparadores estará en el nivel alto cuando la tensión de entrada esté entre los valores de referencia.
Oscilador
Otra aplicación para los comparadores de tensión es como oscilador, proporcionando una señal rectangular de buena estabilidad. En la figura 11 tenemos un circuito de frecuencia muy baja que excita un LED.
La frecuencia de este circuito es de aproximadamente 1 Hz. Siempre que la salida sea al nivel bajo el LED se enciende. El ciclo activo de la señal generada es aproximadamente del 50%. Se puede utilizar el LM339 alimentado con tensiones de 5 a 12 V.
Circuitos Prácticos
Algunos circuitos prácticos usando comparadores pueden servir para aplicaciones interesantes. los valores de los componentes no indicados dependen de la aplicación, pudiendo ser obtenidos a través de cálculos o experimentalmente.
Sensor de luz
El primer circuito es de un sensor foto-eléctrico usando un LDR como elemento sensible. La sensibilidad de este circuito depende de R1 que puede tener valores entre 10 k y 1 M. La configuración que activa un LED en la salida se muestra en la figura 12 y puede ser alimentada con tensiones de 5 a 12 V.

Esta configuración hace que el LED se encienda cuando el LDR está iluminado. Para un comportamiento inverso, haciendo que el LED se encienda cuando la luz en el LDR es cortada, podemos usar el circuito de la figura 13.

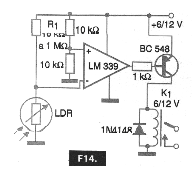
El accionamiento de un relé por los circuitos indicados puede ser obtenido con el uso de un transistor PNP como el BC558, conforme circuito mostrado en la figura 14.
Flip-Flop de Doble Tensión
En la figura 15 tenemos otra aplicación para un comparador de tensión que está configurado para presentar histéresis. Se trata de un relé biestable o flip-flop que opera con dos tensiones.
Con un toque en uno de los interruptores el relé cierra sus contactos y con un toque en el otro interruptor el relé se deshace. Con el uso de un transistor de potencia se puede controlar una carga directamente.
Comparador Doble
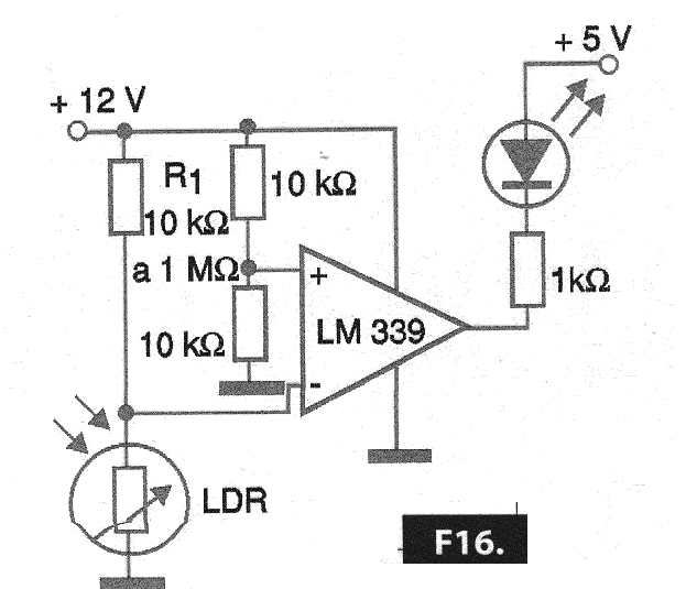
En la figura 16 mostramos cómo usar el comparador con dos tensiones de alimentación.

Ver que este tipo de aplicación es posible justamente por el hecho de que los transistores de salida tienen el colector abierto. Se pueden utilizar en un circuito con una tensión de alimentación diferente. En este caso también, dependiendo del transistor usado en la salida, podemos tanto accionar un relé como directamente una carga de mayor potencia.
Temporizador
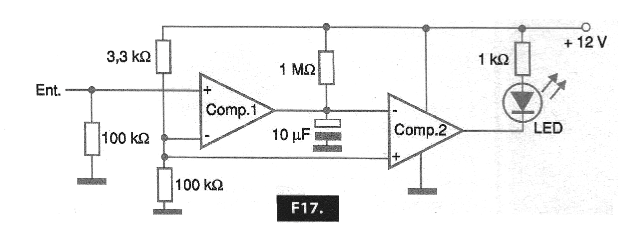
En la figura 17 tenemos una amplificación interesante en la que dos comparadores se utilizan para accionar una carga con retardo.
Como en los otros circuitos, la carga tanto puede ser un simple indicador LED como un circuito de mayor potencia que activa un relé o incluso solenoide, motor o lámpara. En el circuito indicado, con los valores de los componentes usados, el LED se encender después de aproximadamente 10 segundos que la tensión de entrada llegue a 6 V. Cuando la tensión de entrada caiga a menos de 6 V el LED se apagará.
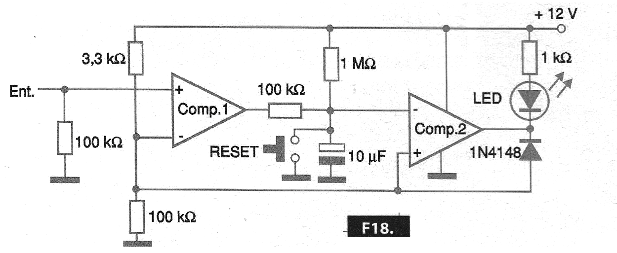
Para obtener una configuración "con traba" del mismo circuito, tenemos la configuración mostrada en la figura 18.
Los tiempos son los mismos, pero para apagar el circuito apagando el LED es necesario presionar el interruptor de presión por un instante, lo que hará que el condensador se descarte.
Conclusión
Lo que hemos visto en este artículo son algunas aplicaciones básicas importantes para los comparadores de tensión. Los circuitos de datos se pueden implementar en base a comparadores comunes como LM339, pero otros pueden ser experimentados.
También es importante observar que las tensiones de disparo de todos los circuitos pueden ser programadas con la alteración de los resistores que determinan las tensiones de referencia.

















