Este artículo es de 2006, pero como se trata de diseño simple con componentes de chatarra todavía es viable en nuestros días, siendo recomendado para cursos de iniciación o aún aficionados que gustan de este tipo de montaje. Se trata de un proyecto ideal para cursos de educación tecnológica dada su simplicidad y por los efectos que ofrece. La posibilidad de obtener sonido tan pronto como el montaje sea terminado es algo muy interesante. La radio de ondas medias descrita tiene como ventaja el uso de componentes que se pueden obtener de equipos viejos fuera de uso. También podemos recomendar este montaje en clases que enseñen a soldar, identificar componentes y aprender cómo funcionan los radios.
Describimos el montaje de una radio muy simple, del tipo de amplificación directa que puede captar las estaciones locales de ondas medias con buena intensidad de sonido. Usando dos transistores de cualquier tipo, que pueden ser incluso aprovechados de aparatos viejos, tiene potencia para excitar un pequeño altavoz.
La alimentación se puede realizar con pilas comunes e incluso fuentes alternativas de energía que suministran tensiones entre 1,5 y 6 V. Los propios transistores usados se pueden aprovechar de viejos radios, amplificadores u otros aparatos antiguos.
Normalmente, en estos aparatos, hay muchos transistores en buen estado que todavía se pueden utilizar en proyectos experimentales como este.
COMO FUNCIONA
La separación de las estaciones es hecha por un circuito de sintonía formado por la bobina L1 y por el capacitor variable CV. Es justamente en este capacitor que seleccionamos la estación que deseamos oír.
Cuando este circuito se ajusta sólo la señal de una estación se aplica al diodo detector, siendo los demás desviados a la tierra donde se pierden. El diodo separa el componente de sonido (audio o baja frecuencia) del componente de alta frecuencia que se desvía a la tierra, ya que no sirve más para nuestro propósito.
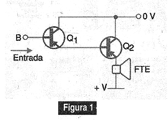
Después de eso, la señal de audio se lleva a los dos transistores que se conectan en una configuración de alta ganancia denominada Darlington y que se muestra en la figura 1.

Esta configuración permite la multiplicación de la capacidad de amplificación de los transistores. Así, si tenemos dos transistores que amplifican la señal 50 veces, juntos y conectados de esta forma, pueden amplificar la señal 2 500 veces (50 x 50).
De esta forma, la señal muy débil que obtenemos después del diodo puede ser amplificada lo suficiente para poder alimentar un altavoz, resultando en un sonido suficiente para que podamos escuchar claramente la estación sintonizada.
Es claro que no es la misma sensibilidad y volumen de una radio comercial donde encontramos de 5 a más de 10 transistores en la amplificación, pero se trata de una radio experimental.
Si el lector tiene muchos transistores disponibles puede experimentar la combinación que da la mayor ganancia, pero en este caso hay que observar que los dos deben ser del mismo tipo: NPN
En la figura 2 mostramos cómo es posible saber si un transistor es NPN o PNP y cómo identificar sus terminales para los tipos más antiguos.
El altavoz se conecta directamente a la salida del circuito. En realidad, si utilizamos transistores de germanio, la radio puede funcionar con tensiones mucho menores que los 3 V indicados, como por ejemplo 1,0 V obtenido de células experimentales o incluso de una célula solar.
MONTAJE
En la figura 3 tenemos el diagrama completo del receptor.
En la figura 4 tenemos el modo de realizar el montaje en un puente de terminales que es la versión más indicada para estudiantes, experimentadores e iniciantes sin recursos para la elaboración de una placa de circuito impreso.
La bobina L1 consta de 80 a 100 vueltas de alambre esmaltado de 24 a 30 de espesor (AWG) en un bastón de ferrita de aproximadamente 1 cm de diámetro y de 10 a 25 cm de longitud, con toma en la vigésima o trigésima espira.
El capacitor variable se puede retirar de cualquier radio AM fuera de uso. El diodo también puede ser de cualquier tipo de germanio. Los diodos retirados de radios fuera de uso normalmente sirven para esta aplicación pero si tiene que adquirir uno, pieza por el 1N34 o 1N60.
El resistor R1 debe tener su valor obtenido experimentalmente quedando entre 470 k ohms y 1,5 M ohms. El lector debe elegir el mayor valor posible que resulte en mayor ganancia (mayor intensidad del sonido) pero sin distorsión.
El altavoz puede ser de 2,5 a 10 cm de diámetro con 4 ó 8 ohmios de impedancia. Los transistores admite muchas opciones de radios antiguos tales como los 2SB75, 2SB175, 2SB54, AC128, OC71, OC74 y muchos otros de aparatos anteriores a 1960. Los tipos más modernos también sirven.
Estos transistores normalmente tienen una pinta o marca (triángulo) indicando el terminal de colector y el terminal del medio es la base. Si tiene alguna duda, pruebe: si no funciona invierte las conexiones.
Si aun así no tiene éxito es porque el transistor es NPN o aún tiene problemas. Si va a adquirir un transistor moderno, opte por el BC557 o el BC558.
La antena debe ser un pedazo de hilo estirado de 3 a 10 metros de longitud. La conexión a tierra puede no ser necesaria con las estaciones más fuertes, pero si se hace, consiste en un hilo conectado a cualquier gran objeto en contacto con la tierra o con paredes de albañilería tales como una escuadra de puerta o ventana.
Para las estaciones más fuertes, el simple hecho de sujetar en el hilo de tierra ya es suficiente para obtener buena recepción.
PRUEBA Y USO
Conecte la antena y tierra y coloque las pilas en el soporte.
Conecte el interruptor general (si lo usa, ya que es opcional).
Gire la variable hasta capturar alguna estación.
Si nada consigue, es señal que hay problemas con los transistores.
Invierta su conexión o verifique si están en buen estado.
LISTA DE MATERIAL
Semiconductores:
Q1, Q2 - Transistores PNP antiguos - ver texto
D1 - 1N34 o cualquier diodo de germanio
Resistores:
R1 - 470 k ohms a 1,5 M ohms x 1/8 W
Capacitores:
C1 - 100 nF - cerámico o poliéster
C2 - 1 nF - cerámico o poliéster
CV - variable - ver texto
Varios:
L1 - Bobina de antena - ver texto
FTE - altavoz de 4 u 8 ohms pequeño
B1 - 3 o 6 V - 2 a 4 pilas pequeñas
Puente de terminales, bastón de ferrita, hilos esmaltados, cables comunes, antena, base para montaje, soporte de pilas, etc.






