Este circuito es indicado a los lectores que estudian, enseñan y hacen montajes digitales en general. Se trata de un sorteador que presenta un número de 0 a 9, pero en forma binaria. Son cuatro LEDs que presentan el resultado, y de forma totalmente aleatoria. El aparato puede ser usado para demostrar numeración binaria, como sorteador o para probar el conocimiento de numeración binaria de alumnos de escuelas técnicas o incluso como práctica transversal de cursos de nivel medio en matemáticas.
Después de presionar un interruptor, el contador comienza a "correr" generando números aleatorios entre 0 y 9. Los cuatro indicadores LED parpadean rápidamente para permitir que el jugador consiga ver en qué número están y con ello tener un control sobre ellos. Cuando el jugador suelta el interruptor la cuenta no se detiene de inmediato, pero tiene su velocidad reducida hasta que, después de unos segundos, sólo una combinación de LEDs se enciende. Esta combinación representa el número sorteado.
Para un nuevo sorteo basta con presionar de nuevo el interruptor, soltar y esperar. El circuito es alimentado por una tensión de 5 V que puede ser obtenida de pilas o de fuente, que describiremos oportunamente. La base del circuito es un contador TTL del tipo 7490 que se puede obtener fácilmente.
Como funciona
Para explicar el principio de funcionamiento del sorteador será interesante basarse en el diagrama de bloques representado en la figura 1.

El primer bloque representa un oscilador que tiene por función generar un número aleatorio de impulsos. La cuenta de estos pulsos determinará el número sorteado. Se observa que el oscilador no necesita obligatoriamente producir de 1 a 10 pulsos, pero cualquier número, pues una vez llegado al 10, el recuento se reanuda.
Así, podemos mejorar el rendimiento del sorteador obteniendo un número aleatorio si el número de pulsos generado es el mayor posible. En nuestro caso, el número de pulsos generado depende de las características de los componentes usados y, a partir del momento en que el jugador suelta el botón de disparo se producirán de 10 a 200 pulsos adicionales. El circuito utilizado para generar los pulsos tiene como base el conocido CI 555 en la configuración de estable controlado, como muestra la figura 2.

En este oscilador, pulsos que dependen de R1, R2 y C se producen cuando el pino 4 está en el nivel alto, es decir, conectado al positivo de la alimentación por un resistor (R). Cuando se apaga el pasador, el oscilador se deshabilita dejando de funcionar. Si colocamos un capacitor (C) en el circuito, cuando desconectamos el pin 4, por soltar el interruptor S de la figura, el oscilador no cesa su operación de inmediato, pero sigue por un tiempo que depende de la carga almacenada en el capacitor.
Cuanto mayor sea este capacitor, por más tiempo se quedará oscilando después de que el interruptor se suelte. De esta forma, en nuestro circuito, tenemos un número de pulsos producidos en esta etapa que depende tanto del tiempo durante el cual el interruptor es presionado como después, de la descarga del capacitor C, como muestra la figura 3.

El paso siguiente del circuito consiste en un contador digital que puede ajustarse para funcionar de dos maneras: contando hasta 2 y contando hasta 5. Se trata de un divisor por 2 y divisor por 5, los cuales, combinados, pueden resultar en un contador divisor hasta 10. Estamos refiriendo al circuito integrado TTL 7490 que se puede encontrar con facilidad en las casas especializadas. En la figura 4 mostramos el aspecto de ese circuito integrado, observándose sus 4 terminales de salida y las formas de señal que se encontrar en sus salidas.

En el caso de que se produzca un cambio en el valor de la energía eléctrica, se debe tener en cuenta que, en el caso de que se produzca un error, Combinando entonces los 1 y 0 podemos tener los números sorteados de 0 a 9, en la forma digital. Para la visualización de los niveles lógicos de las salidas, conectamos en cada una de ellas dispositivos indicadores que no son más que LED rojos comunes.
Dando un valor relativo o "peso" a cada LED podemos formar las combinaciones que suministran todos los valores digitales binarios entre 0 y 9. El valor obtenido será dado por la suma de los valores que los LEDs representan de la siguiente tabla:

Los LEDs necesitan elementos limitadores de corriente, en el caso resistores. La alimentación del circuito se puede hacer de dos formas: Una de ellas consiste en asociar 4 pilas, obteniéndose así 6 V. Como los circuitos integrados de la serie TTL sólo pueden ser alimentados con tensiones en el rango de 4,5 a 5,5 V (5 V es el normal), podemos hacer la reducción con un diodo, como muestra la figura 5.

La otra posibilidad, que consiste en el montaje de una fuente, será dada más adelante.
Montaje
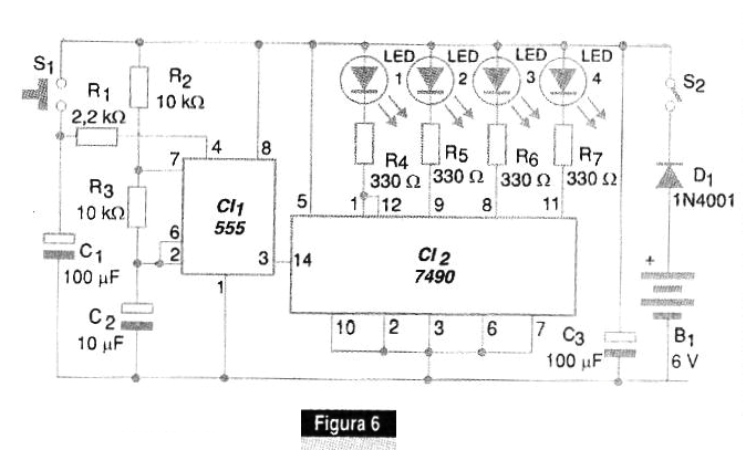
En la figura 6 tenemos el diagrama completo del sorteador.
La placa de circuito impreso para la elaboración del montaje se muestra en la figura 7.
Es interesante utilizar un zócalo DIL para el circuito integrado, principalmente si el montaje es didáctico, ya que el exceso de calor en el proceso de soldadura puede dañar los componentes. Se debe observar la polaridad de los LED y la posición de los circuitos integrados. Si el circuito se alimenta en una encimera, se puede utilizar la fuente de alimentación de la figura 8.

Prueba y uso
Para probar, basta con encajar las pilas en el soporte o conectar la fuente y luego presionar el interruptor S1 por un instante. Los LED deben correr y cuando el interruptor se suelta, deben detenerse después de unos segundos en un valor cualquiera (algunos encendidos y otros no, según la tabla).
Si esto no ocurre, compruebe la oscilación del circuito en primer lugar. Para ello, puede utilizar un altavoz en serie con una resistencia de 100 ohmios, como se muestra en la figura 9.

Si hay oscilación, al presionar S1 se debe producir un ruido similar al de una ruleta corriendo. Si el ruido ocurre, pero los LED no se encienden, compruebe el resto del circuito, principalmente las conexiones del 7490. Comprobado el funcionamiento, es sólo usar el sorteador.
Temas Transversales
La numeración binaria es un tema de gran importancia para la enseñanza actual, ya que es la base de funcionamiento de computadoras y muchos otros equipos electrónicos "inteligentes". En la numeración binaria se utilizan sólo dos dígitos, 1 y 0, y su posición en el número tiene un peso que es potencia de 2, según el ejemplo dado abajo.
23 22 21 20
Tomando como ejemplo el número binario de 4 bits:
1 0 1 1
binario tendrá como equivalente decimal:
1 x 8 + 0 x 4 + 2 x 1 + 1 x 1
Añadiendo:
8 + 2 + 1 = 11
Enseñar a hacer la conversión de binarios en decimales y viceversa es algo muy interesante y que puede emplear el montaje práctico que describimos para generar los números en la forma binaria. Sortee un número y pídale al estudiante que lo convierta a su forma decimal.
Lista de material
Semiconductores:
CI-1 - 555 - circuito integrado - temporizador
CI-2 - 7490 - circuito integrado TTL
D1 - 1N4001 o 1N4002 - diodo rectificador
LED1 a LED4 - LED rojos comunes
Resistores: (1 / 8W, 5%)
R1 - 2,2 k ohms - rojo, rojo, rojo
R2, R3 - 10 k ohms - marrón, negro, naranja
R4 a R7 - 330 ohms - naranja, naranja, marrón
Capacitores:
C1, C3 - 100 uF / 6 V - electrolíticos
C2 - 10 uF / 6 V - electrolítico
Varios:
B1 - 6 V - 4 pilas pequeñas
S1 - Interruptor de presión NA
S2 - Interruptor simple
Placa de circuito impreso, soporte de pilas, caja para montaje. hilos, soldadura, etc.





