Ultrasonidos se puede utilizar en una multitud de aplicaciones y experimentos en el laboratorio de física e incluso la biología. En este artículo describimos varios circuitos prácticos capaces de producir ultrasonidos con buena intensidad. También damos algunas sugerencias de experiencias y aplicaciones para los circuitos descritos.
La banda ultrasónica es bastante amplia que van desde aproximadamente 18 kHz a más de 1 MHz. Por supuesto, los ultrasonidos por encima de 50 kHz son difíciles de producir, exigiendo el uso de transductores especiales y equipos caros.
No es nuestro propósito dar circuitos para estas frecuencias más altas, ya que desde 18 kHz hasta 50 kHz podemos realizar muchos experimentos e incluso utilizar un tweeter piezoeléctrico común como transductor. En cuanto a los experimentos, podemos citar aquellos que implican la física para mostrar las longitudes de onda en un tubo de Kundt, interferencia acústica, etc.
Para aquellos que implican la biología podemos citar la verificación del alcance auditivo, la excitación de los seres vivientes, la verificación de la sensibilidad e incluso la formación de perros y otros animales que escuchan estas frecuencias más altas. Los experimentos en química también se pueden realizar con el uso de ultrasonidos como catalizadores de ciertas reacciones.
Los ultrasonidos no son más que ondas sonoras, compresión y descompresión del aire, que están por encima del límite audible el nuestro que está entre 15 000 y 18 000 Hz, dependiendo de la persona. En la figura 1 tenemos la representación de ondas ultrasónicas.

Sugerencias de Experiencia
Una aplicación interesante que implica el montaje de dos osciladores es la que hace el estudio del fenómeno de interferencia, como se muestra en la figura 2.
Cuando las ondas ultrasónicas se producen en la misma ubicación, como se muestra en la figura, los puntos máximos y mínimos se producen de acuerdo con el fenómeno de interferencia. En la química se puede probar la influencia de las ultrasonidos en varias reacciones para verificar en las que tenemos una aceleración, indicando un efecto catalizador.
En biología podemos comprobar el alcance auditivo de varias personas, con una calibración de circuito en términos de frecuencia. Por último, como aplicación práctica podemos utilizar los circuitos como espantapájaros, ya que muchos animales son perturbados por las ultrasonidos.
Los circuitos
Nuestro primer circuito consiste en un oscilador con dos transistores capaces de excitar directamente un pequeño tweeter piezoeléctrico. Este circuito se muestra en la figura 3, y puede ser alimentado por dos o cuatro pilas pequeñas.
La frecuencia se puede ajustar en el trimpot o potenciómetro. Con la ayuda de un osciloscopio o frecuencímetro es posible añadir una escala de frecuencia al potenciómetro. La frecuencia debe ajustarse a P1. Uso de un tweeter piezoeléctrico: ajustamos P1 hasta que el sonido se vuelve demasiado agudo y luego desaparece a nosotros.
El segundo circuito, mostrado en la figura 4, utiliza un pequeño transductor Piezoeléctrico.
Aunque estos transductores no tienen buen rendimiento en la pista ultrasónica, el circuito es adecuado para experimentos de baja potencia. La frecuencia también se ajusta en P1 y el circuito, por su bajo consumo, puede ser alimentado por pilas. El circuito mostrado en la figura 5 es básicamente el mismo que el anterior en la parte del oscilador, pero utiliza un transistor para excitar un tweeter Piezoeléctrico con mayor potencia.
El transistor debe estar dotado de un pequeño disipador de calor y el circuito puede ser alimentado por fuente o pilas con tensión de 6 a 12 V. En la figura 6 tenemos un circuito de parada del transductor piezoeléctrico con la configuración de contrafase que proporciona una potencia levemente más alta que el circuito en la figura 4.
La frecuencia se ajusta en P1 y el circuito puede ser alimentado por pilas comunes. El circuito de la figura 7 se basa en un 555 y tiene una salida de potencia Darlington, proporcionando así ultrasonidos de buena intensidad.
El transductor es un tweeter Piezoeléctrico y la fuente de 12 V debe proporcionar una corriente de al menos 1,5 A. El transistor debe estar equipado con un radiador térmico. Por la fuerza de la señal, este circuito sirve como espantapájaros.
El circuito de la figura 8 proporciona una alta potencia de ultrasonidos a un tweeter Piezoeléctrico.
El MOSFET puede ser de cualquier tipo con una corriente de al menos 3 A y la fuente debe suministrar al menos 2 A de corriente. El siguiente circuito, que se muestra en la figura 9, utiliza un 555 y un MOSFET de potencia, que presenta una excelente potencia de salida.
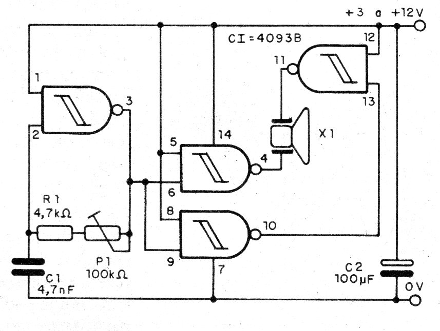
El MOSFET debe estar equipado con un radiador térmico y la fuente debe tener una corriente de al menos 2 A. La configuración de frecuencia se realiza en P1. Finalmente, en la figura 10 mostramos un circuito que permite modular en frecuencia una señal ultrasónica.
Varios experimentos los estudios de fisiología se pueden implementar con un generador de ultrasonidos modulado. Este circuito se puede utilizar con los configuraciones mostrados en el artículo que se basan en osciladores con el 4093.
Conclusión
Además de las configuraciones mostradas. El lector puede encontrar varios proyectos de generadores ultrasónicos en el sitio web del autor. Estos circuitos se pueden modificar o utilizar con otras configuraciones para alcanzar los efectos deseados.












