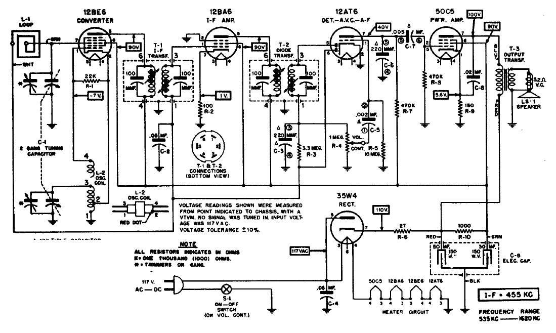
Esta radio AC DC de 5 válvulas tiene una configuración común, con FI de 455 kHz. Los filamentos de las válvulas se conectan en serie.
A falta de un foto-transistor o de una foto-diodo en una aplicación de emergencia o incluso para...
Un altavoz viejo, una o dos baterías (incluso bajas), una lima y es todo lo que el lector necesita para...
Describimos un simple temporizador o temporizador que puede encender o apagar un aparato eléctrico o...