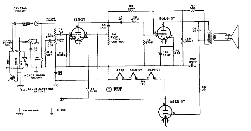
Encontrado en un manual de la época este simple amplificador, con potencia del orden de 1 W tenía los filamentos conectados en serie y entrada para fonocaptor de cristal.
El circuito presentado fue encontrado en un Linear Applications Handbook de National Semiconductor de 1994....
Con la disponibilidad de células solares de bajo costo y también de LED de baja tensión que ya...
Tenemos aquí una interesante versión de alarma temporizada que puede utilizar los más diversos...