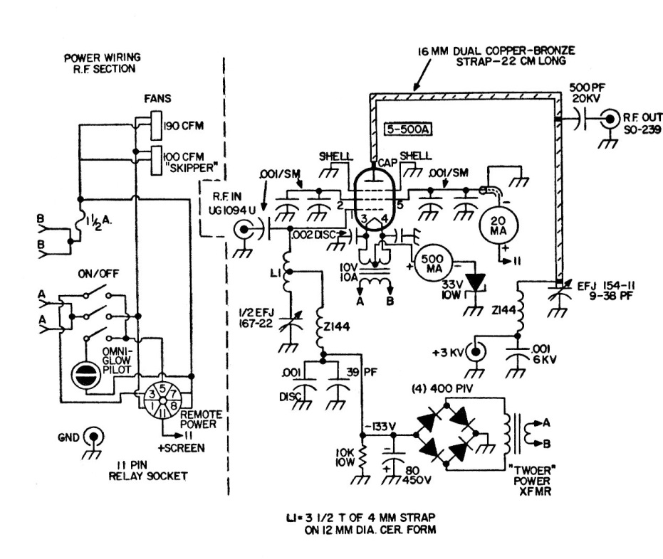
Este circuito de alta potencia para radioaficionados es de una documentación de los años 80. La alimentación es de 3000 V para el ánodo de la válvula, lo que requiere especial cuidado en la elaboración del montaje.
Este circuito puede generar señales de 100 kHz a 1 MHz dependiendo de la bobina L1. Para el rango...
Una lámpara neón polarizada cerca del punto de disparo se convierte en un sensible detector de...
Fenómenos paranormales, aura y otros, pueden ser estudiados con la ayuda de la máquina Kirlian. Se...