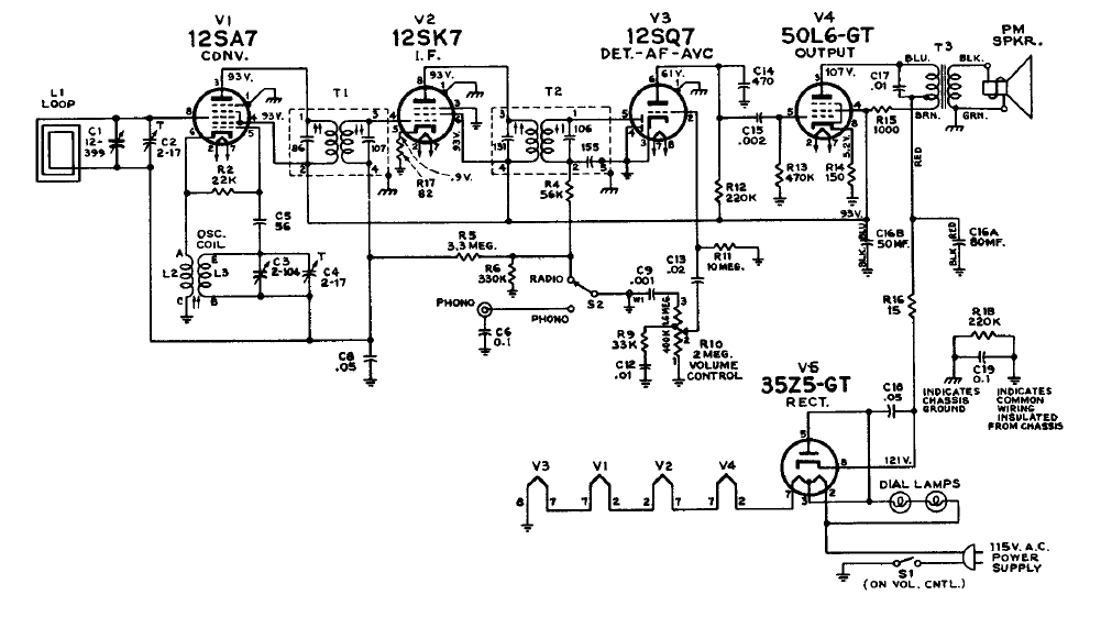
Este receptor de 5 válvulas de la década de 50 se destinaba a la recepción de las estaciones de la banda de ondas medias. La configuración era bastante simple con los filamentos de las válvulas conectadas en serie.
Este circuito puede generar señales de 100 kHz a 1 MHz dependiendo de la bobina L1. Para el rango...
Este preamplificador, que puede funcionar con una pila muy pequeña (AAA), montado en una cajita de...
Un comparador de tensión de precisión, usando diodo zener como referencia puede ser implementado con...