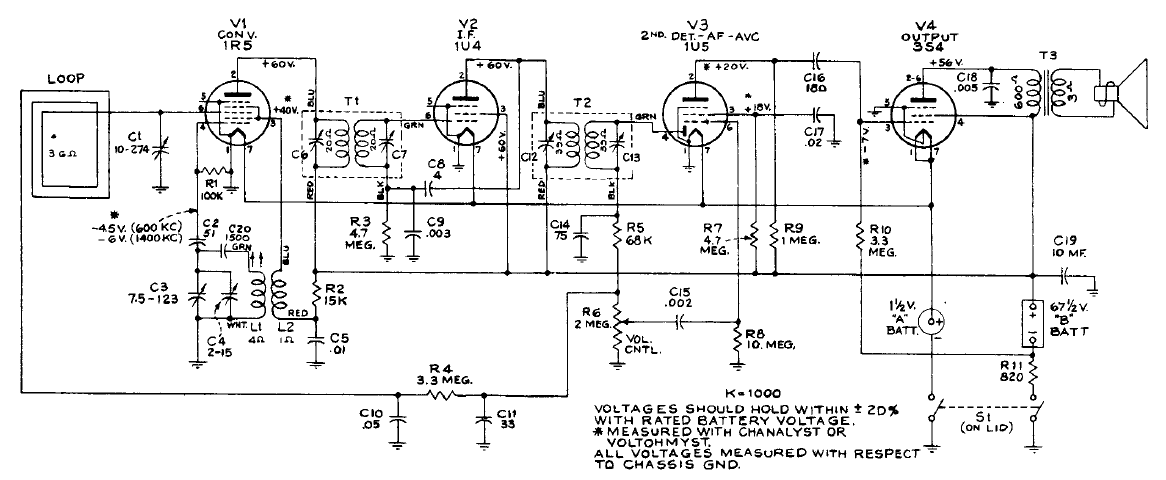
Los receptores portátiles de la época eran alimentados por dos baterías, una de baja tensión y otra de alta tensión. Es el caso de este circuito para ondas medias de la RCA.
Este circuito produce el ruido del goteo de un grifo o una gotera cuando la luz deja de incidir en el...
Este circuito fue encontrado en una publicación europea de los años 80. El operativo utilizado no es...
Con el probador de continuidad simple y sensible que describimos es posible probar componentes básicos...