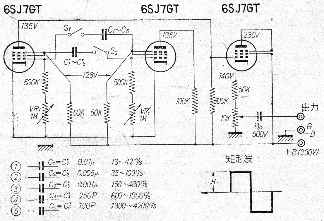
Este circuito de prueba fue encontrado en una publicación japonesa de 1955, que en realidad es traducción de revista americana de la misma época. El circuito utiliza dos válvulas y la fuente de alimentación no se muestra. Los valores de los condensadores para varias bandas de frecuencias se suministran junto al diagrama.




