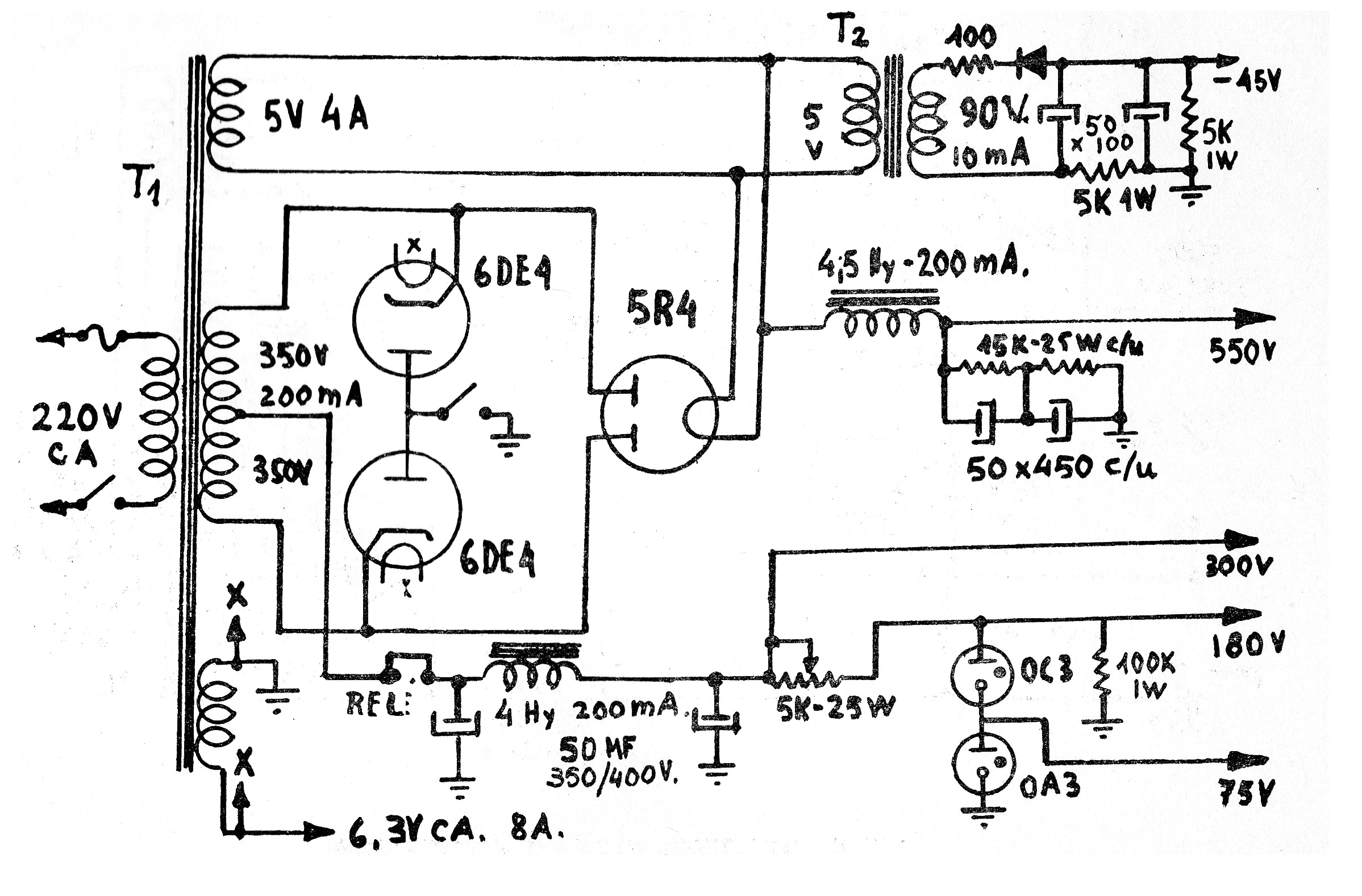
Esta fuente, sugerida por la RCA, puede alimentar transmisores hasta 90 W proporcionando diversas tensiones que se utilizan en los circuitos osciladores, amplificadores y etapa final de salida. Observe que el transformador debe tener varias tensiones y que los componentes críticos, además de las válvulas son los transformadores y los golpes de los filtros.




