Esta es una de las primeras versiones de artículo que publicamos tratando del funcionamiento de amplificadores operacionales. La versión es de 1978, pero el lector puede encontrar en el sitio versiones más modernas.
Hay una vasta literatura sobre circuitos integrados de amplificadores operacionales, presentando curvas, fórmulas y circuitos que revelan las principales características de estos componentes.
Sin embargo, a menudo, los que pretenden usar esos dispositivos sienten dificultades en seleccionar las informaciones que son realmente útiles en sus proyectos, si están embarazadas con las demás informaciones por no saber interpretarlas. En este artículo enfocamos los amplificadores operacionales en lo que se refiere a sus características eléctricas y las especificaciones encontradas en los manuales.
Podemos definir de manera simplificada un amplificador operacional como un amplificador de tensión de alto-ganancia con acoplamiento directo que posee un único terminal de salida, pero dos entradas: una que permite la inversión de la señal de salida en relación a la entrada, y otra no inversora figura 1).
Los amplificadores operacionales, se pueden utilizar en las más diversas aplicaciones prácticas como osciladores, amplificadores de corriente continua y alterna para sensores, instrumentos, etc., como filtros de tonalidad, conmutadores de nivel, etc.
Uno de los más populares amplificadores operacionales disponibles en forma de circuito integrado es el 741, cuyas características ya se suministran en varias ocasiones en otros artículos, así como muchas de sus aplicaciones prácticas.
En torno a este circuito integrado de amplificador operacional discutiremos el funcionamiento de este tipo de dispositivo y daremos los ejemplos prácticos. Conociendo sus características el lector no tendrá problemas en realizar sus propios proyectos con amplificadores operacionales.
PRINCIPIOS BÁSICOS DE FUNCIONAMIENTO
Un amplificador operacional consiste básicamente en un amplificador de tensión, es decir, podemos obtener en su salida una variación de tensión mucho mayor que la variación de tensión aplicada en sus entradas. Como hemos visto, los amplificadores operacionales tienen dos entradas: una entrada inversora marcada con la señal (-) y una entrada no inversora marcada con el signo (+).
Cuando la variación de la tensión aplicada en la entrada (+) se hace en un sentido, la variación de la tensión en la salida del circuito se hace en el mismo sentido (figura 2).
Por otro lado, al aplicarse la señal en la entrada inversora (-), la variación de la tensión de salida se hace en sentido contrario a la de la tensión de entrada (figura 3).
Como en condiciones normales la ganancia de los amplificadores operacionales es muy elevada, en la amplificación pueden ocurrir distorsiones perjudiciales a la finalidad del proyecto. En estas condiciones, con el fin, de controlar la ganancia del amplificador y también de reducir la distorsión, se utiliza un circuito externo de realimentación negativa, conforme lo mostrado en la figura 4.
La ganancia del amplificador será entonces dada por la relación existente entre los resistores R1 y R2. Normalmente, para los amplificadores del tipo 741, la ganancia sin retroalimentación es del orden de 100 000. En las aplicaciones prácticas sin embargo, el rango de ganancia del amplificador se fija entre 1 y 1 000.
BIAS O POLARIZACIÓN
En la figura 5 tenemos una configuración denominada con tierra virtual. En esta configuración, la entrada. la inversora se mantiene conectada a tierra, y la entrada inversora se mantiene para la retroalimentación negativa que fija la ganancia del dispositivo.
La impedancia de entrada del circuito para este caso es dada por el propio valor de R1, mientras que la impedancia de salida se da por la siguiente expresión:
Zout = ( Zs x Gr ) / G
Zout = impedancia de salida
Zs = impedancia de salida del amplificador operacional
Gr = ganancia del amplificador con retroalimentación
G: ganancia del amplificador sin retroalimentación.
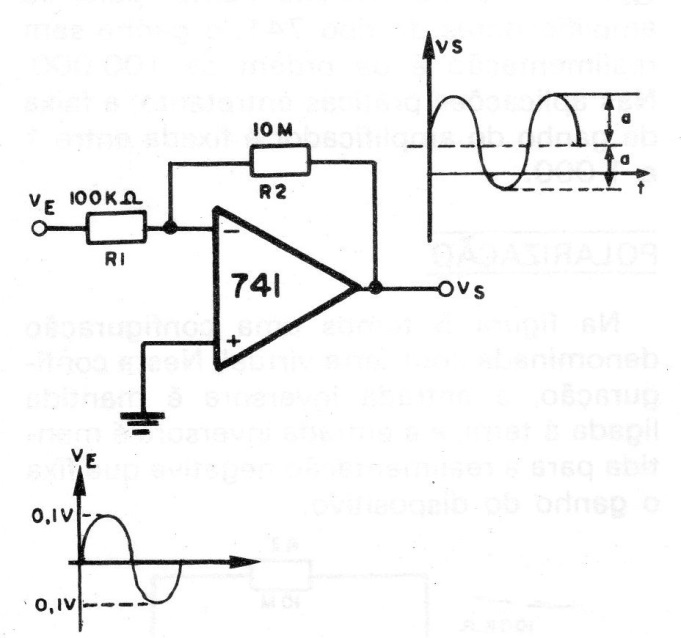
En el caso de un amplificador con ganancia 100, por ejemplo, y una impedancia de entrada de 100 k, podemos utilizar los siguientes componentes externos: R1 debe tener un valor igual al de la impedancia de entrada, es decir:
R1 = 100 k
R2 debe ser 100 veces mayor que R1, es decir:
R2: 10 M
Si aplicamos a la entrada de este circuito una señal sinusoidal de 0,1 V de amplitud, tendremos en su salida una señal de 10 V de amplitud, también senoidal (figura 6).
Para el circuito de la figura 6 ocurren, sin embargo, algunos problemas que en ciertas aplicaciones deben ser eliminados. Este problema consiste en el hecho de que el sinusoide obtenido en la salida no es simétrico en relación al potencial de referencia (0 V).
En realidad, si desconectamos la entrada del circuito, veremos que en ausencia de señal no tendremos una tensión nula de salida, pero ésta tenderá a un valor positivo considerable. En resumen, "en reposo" la tensión de salida no es nula, como debería ser.
Este problema es causado por la necesidad de una corriente de polarización de base en la entrada. La entrada de un amplificador operacional consiste en un par diferencial como el mostrado en la figura 7.
Para que este par funcione correctamente es necesario que la corriente de emisor de los transistores sea constante. Si una de las entradas está directamente Iigada a la tierra como en el circuito tomado como ejemplo, habrá un desequilibrio entre las corrientes de emisor y el resultado será esta tendencia de la señal de salida si se desplaza a valores positivos.
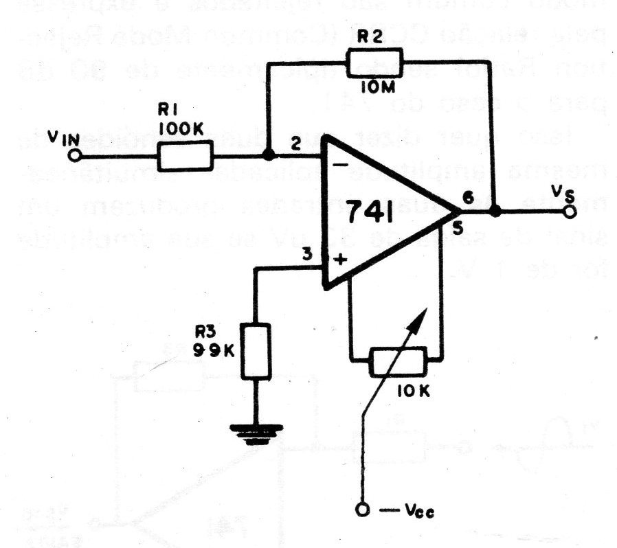
Este efecto puede ser compensado por la utilización de una resistencia conectada entre la entrada no inversora y la tierra, como muestra la figura 8.
El valor de esta resistencia debe ser equivalente al obtenido por la unión de R1 en paralelo con R2. Llamando de R3 este componente, podemos calcular entonces su valor por la expresión:
R3 = (R1 x R2) / (R1 + R2)
Para nuestro circuito este resistor es del orden de 99 k.
R3 = 99 k
Con la utilización de este resistor, las tensiones en las dos entradas se mantienen próximas y con ello, en ausencia de señal de entrada la tensión de salida tiende a 0.
De hecho, tiende a cero "porque los transistores no pueden tener exactamente las mismas características eléctricas. Por lo tanto, una tendencia de la tensión de salida huye de" 0 "en ausencia de señal. Esto, sin embargo, puede ser fácilmente compensado por un ajuste externo denominado "Offset Voltage Adjustment".
En la figura 9 tenemos la conexión de un resistor variable que puede ser usado para este propósito.
Bandwidth o Ancho de banda
En posesión del amplificador tomado como ejemplo en el ítem anterior, supongamos que la campana aplicada a su entrada tiene una frecuencia de 100 kHz.
Al observar la forma de onda obtenida en la salida veremos que ella está muy lejos de ser una sinusoide. En realidad, la distorsión introducida hace que tiende a una forma triangular, como muestra la figura 10.
Esta distorsión se debe al hecho del amplificador operacional, en esta frecuencia no poder acompañar las variaciones de la tensión de entrada. Esta velocidad, según la cual la tensión de salida puede aumentar o disminuir de valor, es indicada por la expresión inglesa "slew rate" (tasa de crecimiento), siendo del orden de 0,5 V / us para el 741.
Otro problema que influye en la respuesta de frecuencia del amplificador operativo, es el producto ganado x banda pasante. Para el caso del 741, este producto es de 1 MHz, lo que significa que el producto de la ganancia del amplificador por la frecuencia de operación no debe exceder de 1 MHz.
Por ejemplo, si hacemos el amplificador operativo operar con una ganancia de 1 000, esa ganancia sólo se obtendrá para señal hasta 1 kHz porque: 1000 x 1 kHz = 1MHz
Si el amplificador funciona con una ganancia 100, la señal ya puede ir hasta 10 000 Hz, porque:
100 x 10000 Hz = 1 MHz
En la figura 11, tenemos un gráfico que demuestra bien este fenómeno.
La curva I muestra la ganancia sin retroalimentación. Compruebe que esta ganancia cae rápidamente a medida que la frecuencia aumenta. Esta curva muestra una atenuación de 20 dB por octava, la cual tiene por origen un condensador de 30 pF existente en el interior del propio integrado, el cual no puede ser eliminado.
La curva ll muestra que, para una ganancia de 100 veces, éste se mantiene constante hasta la frecuencia de 10 kHz, a partir de lo que cae rápidamente.
CORRIENTES Y TENSIONES DE SALIDA
Los amplificadores operacionales proporcionan una tensión de salida, aunque existen tipos para proporcionar una corriente de salida. Así, si la salida de un amplificador operacional es cortocircuitada, pueden circular por el componente corriente muy elevada, a las que pueden causar su destrucción.
Muchos amplificadores operacionales poseen una protección interna contra cortocircuitos de modo que su salida puede quedar indefinidamente cortocircuitada con la tierra. Para el caso del 741, existe una protección que limita la corriente de salida en 25 mA.
OPERACIÓN DIFERENCIAL
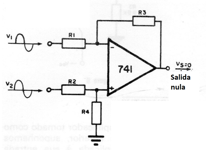
Lo que vimos en el ejemplo de aplicación fue la operación del amplificador de modo que la señal de entrada era aplicada, teniendo como referencia la tierra. En algunos casos la señal a ser aplicada se realiza entre las dos entradas del amplificador, o sea, se desea aplicar en realidad una diferencia de tensiones para ser amplificada. En estas condiciones, el amplificador opera de modo diferencial (figura 12).
En la misma figura, 12, tenemos las fórmulas que permiten encontrar los valores de los resistores para esta configuración.
En la operación diferencial, si aplicamos las dos entradas, dos ondas senoidales de la misma amplitud, como muestra la figura 13, el resultado será una "cancelación" de modo que el amplificador las ignorará, manteniendo nula la tensión de salida.
En estas condiciones, el amplificador funciona "de modo común" y una característica importante a considerar en un amplificador es cuánto es capaz de ignorar las dos "ondas" de entrada aplicadas.
La forma en que se rechazan las señales de forma común es expresada por la relación CCRR (Common Mode Rejection Ratio) siendo típicamente de 90 dB para el caso del 741. Esto quiere decir que dos senóides de la misma amplitud aplicada simultáneamente a las dos entradas producen una señal de salida de 33 uV si su amplitud es de 1 V.
EL AMPLIFICADOR OPERACIONAL 741
El amplificador 741 puede ser obtenido de diversos fabricantes, que cambian eventualmente su denominación, añadiendo prefijos indicativos de su origen, o bien suministrándolos con nuevas denominaciones. En todos los casos sin embargo, los tipos pueden ser sustituidos entre sí, sin problemas.
En la figura 14, tenemos dos envolturas más comunes para el 741.
Las siguientes son sus principales características eléctricas:
Al - Ganancia sin retroalimentación (Open - Loop Voltage Gain) - 100 dB.
Zin - impedancia de entrada (Input lmpedance) - 1 M ohmios.
Zo - impedancia de salida (salida de impedancia) - 150 ohmios.
Ib - corriente de polarización (input bias current) - 200 mA.
Vsmax- máxima tensión de alimentación 18 - 0 - 18 V.
Vimax - máxima tensión de entrada - 13 - 0 - 13 V.
Vomax- máxima tensión de salida - 14 - 0 - 14 V.
CMMR - Rechazo de modo común - 90 dB.
fT - frecuencia de transición - 1 MHz.
S - velocidad de la variación de tensión (rango de velocidad) - 1 V / us.

















