Los lectores que poseen una matriz de contactos y la utilizan en sus montajes experimentales, proyectos o incluso para aprender electrónica a través de circuitos sugeridos en cursos, saben muy bien cómo este tipo de trabajo queda facilitado. Sin embargo, podemos todavía tener mayor versatilidad en el trabajo con las matrices si tenemos algunos equipos externos en nuestra bancada. Uno de ellos, que sugerimos en este artículo, reúne dos fuentes de alimentación y un generador de señales rectangulares de gran utilidad.
Todos los proyectos que involucran transistores y circuitos integrados necesitan una fuente de alimentación y muchos de ellos necesitan todavía una fuente de señales para prueba o incluso excitación.
La matriz de contactos se revela excelente para el montaje de estos proyectos, sin embargo partes del circuito como la fuente de alimentación y el propio generador de señales no necesitan necesariamente ser montados todas las veces que hicimos nuestros proyectos, pues eso sería una enorme pérdida de tiempo. ¿Por qué no tener todo esto a disposición junto con la propia matriz para facilitar los trabajos?
Es lo que proponemos en este artículo: en un solo aparato reunimos dos fuentes de alimentación, dos indicadores de niveles lógicos y también un asta con un integrado 555 que cubre desde la banda de audio hasta frecuencias muy bajas, del orden de fracción de Hertz, seguimiento del funcionamiento de los contadores, por ejemplo.
Todo está montado para facilitar la conexión directa en la matriz y con ello facilitar los trabajos. Podemos resumir las características del aparato de la siguiente manera:
CARACTERÍSTICAS
Entrada: 110/220 V CA
Fuentes:
a) Estabilizada con 7805: 5 V x IA
b) Estabilizada con 7806: 6 V x 1A
Indicadores. de niveles lógicos:
a) LED rojo activado a nivel: 0
b) LED verde activado a nivel: 1
Oscilador de baja frecuencia:
a) Rango 1: 1 kHz a 10 kHz
b) Rango 2: 0,01 a 0,1Hz
COMO FUNCIONA
Evidentemente debemos analizar estos aparatos por sectores, pues ellos tienen funcionamiento independiente.
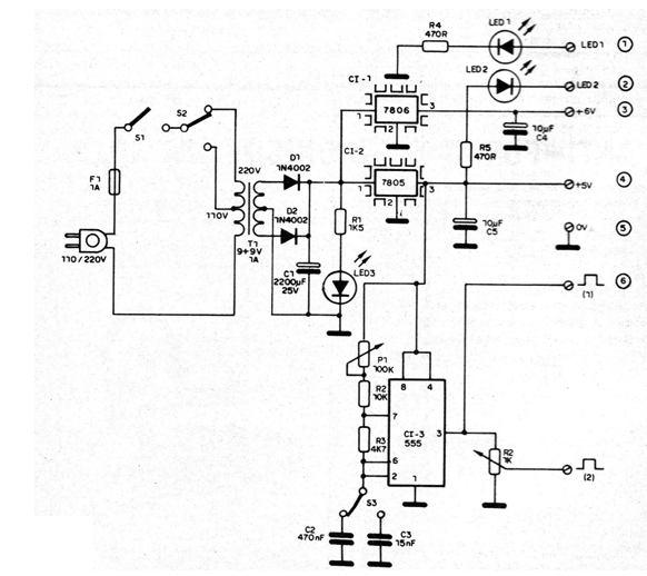
Comenzamos por la fuente de alimentación que, según diagrama esquemático de la figura 1, tiene como base el transformador T1 que baja la tensión de la red a 9 V y después de rectificar la corriente en D1, D2 tenemos el filtrado hecho por C1. El LED sirve para indicar que la central está activada. y
La tensión, del orden de 13 V, obtenida en este punto del circuito va para dos reguladores de tensión integrados. El 7805 proporciona una salida de 5 V con corriente de hasta 1A y el 7806 proporciona 6V con corriente de la misma intensidad como máximo. Usamos la alimentación de 5 V también para el oscilador que tiene como base un integrado 555. Este 555 tiene su frecuencia de operación determinada por el potenciómetro P1 y por los capacitores C2 y C3 que son seleccionados por una llave de 1 polo x 2 posiciones (S3) .
Con el capacitor más pequeño tenemos un rango de frecuencias más altas, cuando el 555 genera una señal en la pista de audio. Con el capacitor mayor, tenemos frecuencias más bajas que, incluso, pueden ser aún reducidas con el cambio de este componente por un capacitor de 1 uF o incluso 4,7 uF.
La señal de salida obtenida en el 555 es rectangular y, como la alimentación es de 5 V, esta señal es totalmente compatible con integrados CMOS y TTL.
Para otras aplicaciones, sin embargo, en que puede ser exigido un nivel de excitación menor, tenemos el potenciómetro P2 que sirve de ajuste de intensidad. En el sector de niveles lógicos tenemos dos LEDs que se vinculan de formas diferentes. El LED se enciende cuando su entrada es positiva respecto a la masa del circuito. El LED2 se enciende cuando su entrada es puesta a tierra, pues su ánodo está conectado al positivo de la fuente de 5 V.
En la entrada del circuito destacamos la llave S2, que permite cambiar el modo de operación según la tensión de la red, si 110 V o 220 V, y el fusible de protección.
MONTAJE
En la figura 1 tenemos el diagrama completo de la central.

La disposición de los componentes en una placa de circuito impreso, que luego se aloja dentro de una caja plástica, se muestra en la figura 2.
El transformador, por ser componente pesado, queda fuera de la placa de circuito impreso. Los integrados 7805 y 7806 están dotados de buenos radiadores de calor, pues en la corriente máxima exigida tienden a calentarse.
En el panel de la caja deben ser accesibles, y debidamente identificados los potenciómetros de control. Se utilizan para estos componentes. El capacitor electrolítico Cl, de la fuente, debe tener tensión de trabajo de 25 V o más, mientras que los demás pueden ser para 12 V o más.
Los resistores son todos de 1/8 W con tolerancia de 5 o 10%, mientras que C2 y C3 tanto pueden ser de poliéster como cerámicos. Para D1 y D2 se admiten diversos equivalentes, como los 1N4004, 1N4007 e incluso BY127.
Los LED son comunes, rojos o verdes, según la función. Para las salidas de señales y tensiones, así como entradas para los LED, se pueden utilizar conectores para circuito impreso con tornillos, en una versión más económica (figura 3).

En una versión un poco más costosa, podemos usar bornes disponiendo entonces de pedazos de hilos rígidos debidamente preparados, conforme muestra la figura 4, de modo que sus puntas puedan ser insertadas en los agujeros de la matriz de contactos.
Los hilos estandarizados de 4ocm con enchufes en las puntas se pueden utilizar para eso.
PRUEBA Y USO
Comenzamos por verificar el funcionamiento de las fuentes de alimentación, lo que se puede hacer de manera muy simple, ya con la verificación también de la conexión del LED1. Bastará entonces que interconectemos por un momento la salida 3 de la fuente de 6 V al punto 1 que corresponde al LED que se enciende en el nivel 1. El LED debe encenderse normalmente.
Lo mismo ocurrirá cuando conectemos la salida 4, fuente de 5V, con el punto 1, aunque el brillo del LED sea ligeramente menor. Para comprobar el funcionamiento del LED2, que se enciende en el nivel 0, bastará interconectar por un momento la salida 2 con la salida 5 de 0 V de la fuente.
La verificación del sector oscilante se puede hacer de dos formas: para el sector de frecuencia muy baja, cuando colocamos el capacitor de 47onF o más en el circuito, bastará conectar la salida 6 al punto 1. Ajustando el potenciómetro P1 debemos observar el LED parpadeante.
Otra forma, que permite observar las oscilaciones tanto de audio como de frecuencia más baja, consiste en conectar el punto 7 a la entrada de un amplificador oa un auricular de alta impedancia (no conecte altavoz ni fuente de baja impedancia). En estas condiciones, el negativo del amplificador (tierra) u otro polo del auricular debe estar conectado al punto 5.
Ajustando P1 debemos tener sonido o pulsos rápidos y lentos, según la posición de la llave S3. Una vez comprobado el funcionamiento del sistema es sólo usarlo, recordando que tenemos disponible:
a) fuente de 6 V, cuyo polo positivo está en el pin 3 y la tierra en 5.
b) fuente de 5 V, cuyo polo positivo está en 4 y la tierra en 5.
c) generador de señales o pulsos TTL, cuyas salidas son: máxima para TTL en 6 y ajustable en 7.
d) Monitor de nivel lógico a través del LED1 con acceso en el punto 1, que se enciende cuando su entrada es positiva.
e) monitor de nivel lógico a través del LED2 con acceso en el punto 2, que se enciende cuando su entrada está puesta a tierra o 0 V.
Al usar respetar las limitaciones de corriente de la fuente, que es de 1 A, no conectando circuitos que usen más que eso. Nunca conecte los puntos 3 y 4, o estos puntos al 5. No conecte cargas de baja impedancia como altavoces y auriculares en las salidas 6 y 7.
Si se utiliza una resistencia de 100 ohmios en serie para limitar la corriente del 555.
Después es sólo realizar los buenos proyectos en la matriz de contactos, muchos de los cuales son descritos en este sitio y en diversos libros nuestros.
LISTA DE MATERIAL
Cl-1 - 7806 - circuito integrado regulador de tensión 6 V
Cl-2 - 7805 - circuito integrado regulador de tensión 5 V
Cl-3 - 555 - circuito integrado de oscilador / timer
D1, D2 - 1N4002 o equivalentes - diodos de silicio
LED1, lED2, IED3 - LEDs comunes (rojos, amarillos, verdes, etc.) - ver texto i
T1 - transformador con primario de acuerdo con la red local (110/220 V) y secundario de 9 + 9 V x «1A
S1 - interruptor simple
S2 - llave de tensión 110/220 V
S3 - llave de 1 polo x 2 posiciones
F1 - 1 A - fusible
C1 - 2 200uF x 25 V - capacitor electrolítico
C2 - 470 nF - capacitor de cerámica o de poliéster
C3 - 15 nF - capacitor de cerámica o de poliéster
C4, C5 - 10 uF - capacitores electrolíticos
P1 - 100 k - potenciómetro
P2 - 1k - pote
R1 - 1k5 - resistor (marrón, verde, rojo)
R2 - 10 k - resistor (marrón, negro, naranja)
R3 - 4k7 - resistor (amarillo, violeta, rojo)
R4, R5 - 470 ohmios - resistores (amarillo, violeta, marrón)
Varios: caja para montaje, placa de circuito impreso, cable de alimentación, soporte para fusible, conector para circuito impreso con tornillos o bornes aislados, knobs para los potenciómetros, soporte para los LED (opcional), hilos, radiadores de calor para los integrados etcétera





