La finalidad de este circuito es producir estallidos ritmados que sirven para dar el compás al tocar algún instrumento musical o aún controlar el modo como un ejercicio de gimnasia es hecho.
En una feria de ciencias o aún como trabajo escolar este circuito puede ser usado para demostrar el principio de funcionamiento de este aparato que se utiliza en la enseñanza de música y en actividades deportivas. Otra aplicación interesante para este aparato es la determinación de la velocidad de caminatas o marchas.
El metrónomo descrito es alimentado por pilas, batería o una fuente de 6 a 12 voltios. La tensión elegida determinará la intensidad de los chasquidos producidos. El único cambio en el diseño original ocurre si deseamos alimentar el circuito con 12 volts, en cuyo caso debemos usar un TIP32 en lugar del transistor BC558. El montador, sin embargo, debe observar que este componente tiene una disposición de terminales diferente del original.
El ajuste de la frecuencia o velocidad de los golpes se realiza en P1 que abarca una enorme gama de valores y que aún puede tener cambios si cambiamos C1.
COMO FUNCIONA
El circuito consiste básicamente en un oscilador con dos transistores complementarios donde el capacitor C1 junto con R2 forman el eslabón de realimentación. Este eslabón aplica de vuelta a la entrada del circuito la señal obtenida en la salida de modo que él oscila. Estos componentes, junto con P1 y R1 determinan la frecuencia de las oscilaciones.
Como P1 es variable podemos ajustar en este componente la frecuencia de las oscilaciones. La carga utilizada en el transistor Q2 de salida es un altavoz que reproduce las oscilaciones en forma de pulsos generando chascos audibles de buena intensidad.
MONTAJE
En la figura 1 tenemos el diagrama completo del metrónomo.

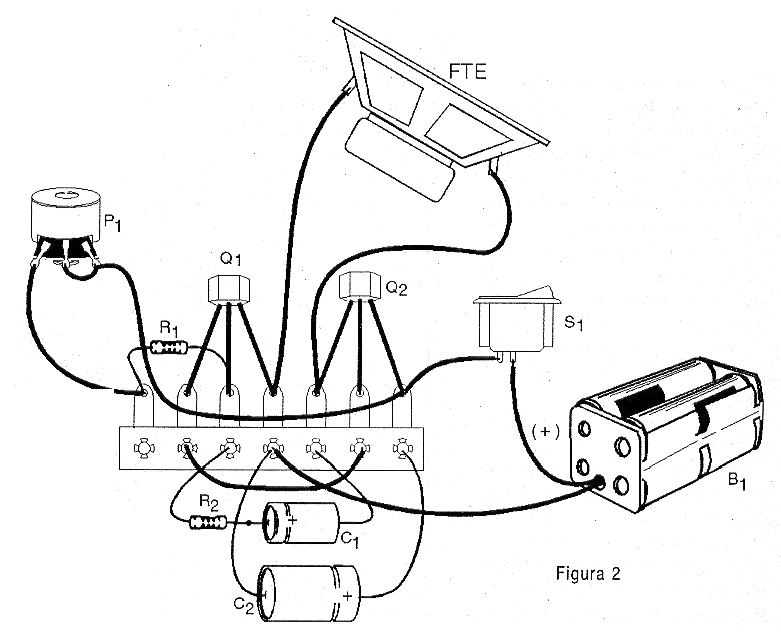
La disposición de los componentes en un puente de terminales se muestra en la figura 2.
Los resistores son de 1 / 8W o mayores con cualquier tolerancia y los transistores admiten equivalentes. Los capacitores electrolíticos deben tener tensiones de trabajo igual o mayores que las indicadas en la lista de materiales.
El potenciómetro puede ser de cualquier tipo y en realidad su valor no es crítico pudiendo quedar entre 470 k ohms y 2,2 M ohms. El altavoz influirá en el volumen obtenido. Se pueden utilizar pequeños altavoces de 5 cm para un montaje portátil, pero para una mayor intensidad de sonido es interesante utilizar un altavoz más grande montado en un altavoz.
Para la versión de 12 V en que Q2 debe ser un TIP32, este componente debe estar dotado de un radiador de calor que consiste en una chapa de metal doblada en "U". En la versión de 9 V no recomendamos el usado de batería pero sí de 6 pilas o fuente ya que el consumo es algo elevado.
PRUEBA Y USO
Para probar el aparato basta con colocar las pilas en el soporte o conectar la alimentación externa observando la polaridad y ajustar P1 para que los chasquidos ocurran en la frecuencia deseada. Si no alcanza la frecuencia deseada, cambie el valor de C1.
Si el lector desea puede calibrar la escala del potenciómetro sobre la base de un cronómetro común o un metrónomo de verdad. La escala se hará en número de chasquidos por segundo. Para utilizar basta con ajustar el aparato para producir los chasquidos en la frecuencia deseada.
Si desea un montaje portátil, para usar en caminatas por ejemplo, el altavoz puede ser cambiado por un auricular de baja impedancia (8 a 32 ohms) y la alimentación de dos pilas pequeñas.
QUÉ EXPLICAR
El alumno debe investigar antes la finalidad de los metrónomos en la enseñanza de la música y, si es posible, hasta conseguir un tipo antiguo de varilla (una varilla que vibra accionada por un mecanismo de resorte). Después, debe explicar el principio de funcionamiento de los circuitos osciladores electrónicos y comparar con los metrónomos antiguos.
Haga una analogía entre la longitud de la varilla que determina la frecuencia en los tipos antiguos y el valor del capacitor C1 que determina la frecuencia en el tipo electrónico. En un trabajo de electrónica, tenga en mano diversos valores de capacitores para usar en lugar de C1 mostrando entonces cómo ese componente influye en la frecuencia del aparato.
OTRAS APLICACIONES
Coloque algunas bolitas de isopor dentro del cono del altavoz boca arriba. Las bolitas saltarán a cada chasquido. Utilice este experimento para explicar cómo funcionan los altavoces.
LISTA DE MATERIAL
Semiconductores:
Q1 - BC548 o equivalente - transistores NPN de uso general
Q2 - BC548 o TIP32 - transistores PNP - ver texto
Resistores: (1 / 8W, 5%)
R1 - 10 k ohms - marrón, negro, naranja
R2 - 1 k ohms - marrón, negro, rojo
P1 - 1 M ohms - pote
Capacitores:
C1 - 10 uF / 12V - electrolítico
C2 - 100 uF / 12 V - electrolítico
Varios:
FTE - 4/8 ohms - altavoz de 5 a 10 cm
S1 - Interruptor simple
B1 - 6, 9 V - batería o fuente - 12 V - fuente - ver texto
Puente de terminales, caja para montaje, soporte de pilas o fuente de alimentación, botón para el potenciómetro, etc.




