Los amplificadores operativos necesitan fuentes simétricas típicamente entre 6 y 15 V. En este simple proyecto, mostramos cómo mostrar una cuya tensión depende sólo del transformador utilizado.

   Esta fuente simétrica no regulada es ideal para la alimentación de proyectos que utilizan amplificadores operativos.

   En especial recomendamos para proyectos didácticos en matrices de contactos por su simplicidad.

   Sólo debemos tener cuidado con su uso, eventualmente añadiendo un fusible de 500 mA en la entrada, ya que no está regulado ni protegido.

   La fuente utiliza rectificación de onda completa y tiene un LED para controlar la tensión de salida.

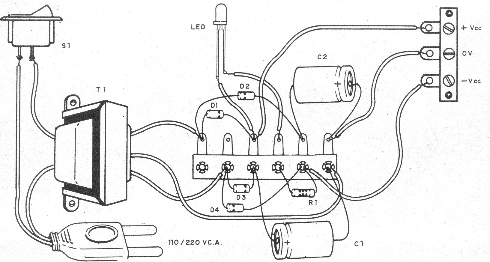
   En la figura 1 tenemos el diagrama completo de la fuente.

 

 

   Figura 1 - Diagrama completo de la fuente
   Figura 1 - Diagrama completo de la fuente | Clique na imagem para ampliar |

 

   

La figura 2 muestra su montaje utilizando un puente de terminales como base.

 

 

   Figura 2 - Montaje en puente de terminales
   Figura 2 - Montaje en puente de terminales | Clique na imagem para ampliar |

 

   

El transformador puede tener de 6 a 12 V de tensión de secundario con corrientes de 200 a 500 mA.

   Los electrolíticos son para 16 V y los diodos 1N4002 o incluso 1N4004.

    El LED puede ser de cualquier tipo.

 

 

   Lista de material

 

D1 a D4 - 1N4002 o 1N4004 - diodos

LED - LED común de cualquier color

T1 - Transformador - ver texto

S1 - Interruptor simple

C1, C2 - 1 000 uF - electrolíticos

R1 - 3k3 ohms x 1/8 W - resistor - naranja, naranja, rojo

Varios:

Cable de fuerza, cables, caja para montaje, soldadura, etc.