Juguetes interesantes se pueden hacer con motores y circuitos electrónicos. Un ejemplo de ello puede ser dado por los juguetes radio-controlados que ya hemos publicado varias veces.
Lo que proponemos es el montaje de un barquito de mando electrónico, cuyo motor es controlado por un circuito de tiempo. Este barquito camina y se detiene a intervalos regulares y aún parpadeará una luz de alerta.
El montaje del circuito de tiempo es muy sencillo, sirviendo de entrenamiento para principiantes que, después de eso, podrán partir para proyectos más complejos como, por ejemplo, un barco radio-controlado.
El barquito puede ser uno de plástico del tipo encontrado listo en tiendas de juguete o improvisado con una bandeja de papel.
Como funciona
Para encender y apagar el motor de forma intermitente, usamos un oscilador denominado multivibrador astable. En este circuito tenemos dos transistores que funcionan como llaves conectando y apagando alternativamente en intervalos que depende de los capacitores conectados en sus bases.
Si utilizamos dos capacitores de valores diferentes, los tiempos de parada y movimiento también serán diferentes. En el proyecto elegimos capacitores para tener tiempo de parada un poco mayor que el de accionamiento.
El multivibrador controla un motor de 6 V a través de un transistor de potencia. El motor puede ser obtenido de algún juguete de pilas fuera de uso.
Montaje
Tenemos dos fases del montaje a considerar: la preparación del barco y el montaje de la parte electrónica.
Como los barcos de juguete de plástico son de material blando, el trabajo de preparación es simple, como muestra que parece 1.
Todo lo que se debe hacer es perforar la parte superior del plástico y colocar la chavita que encender y apagar el circuito (S1). Otro agujero, en posición que debe ser elegido según el barco es para el LED. El soporte de pilas, motor y circuito electrónico quedará en la parte interna del bar. Los barcos de juguete ya tendrán el motor fijado para accionar una hélice.
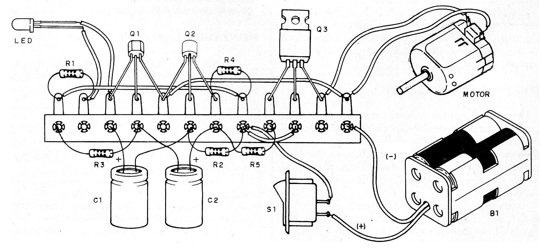
Pasando a la parte electrónica, damos el circuito completo en la figura 2.
En la figura 3 tenemos la soldadura de los componentes principales en un puente de terminales. Observe si el barco tiene suficiente espacio para su instalación.
Observe cuidadosamente las posiciones de los componentes. Si al accionar el motor girar "al contrario", invierta sus hilos de conexión. Los capacitores electrolíticos se pueden cambiar para modificar los tiempos de accionamiento.
Lista de material
Q1, Q2 - BC548 o equivalentes - transistores NPN de uso general
Q3 - TIP31- transistor NPN de potencia
LED - LED común de cualquier color
C1 - 470 uF x 6 V o más - capacitor electrolítico
C2 - 220 uF x 6 V o más - capacitor electrolítico
R1 - 470 ohms x 1/8 W - resistor - amarillo, violeta, marrón
R2, R3 - 22k x 1/8 W - resistor - rojo, rojo, naranja
R4 - 560 ohms x 1/8 W - resistor - verde, azul, marrón
S1 - Interruptor simple
B1 - 6 V - 4 pilas pequeñas
Varios: puente de terminales, soporte de pilas, hilos, soldadura, etc.






